本文涉及電腦散熱技術領域,具體地講是一種分體式無風扇電腦散熱裝置。
眾所周知,電腦主機發出的噪音令人很煩惱,對此人們開發了多種企圖降低CPU及電源風扇噪音汙染源的成人抖音在线看。其方式基本為三種:
1、 加大風扇直徑,保證空氣流量,降低轉速;
2、用水冷裝置代替風扇降溫;
3、給發熱主體如CPU和顯卡加裝導熱性能更好的材料,增加散熱麵積,此外還有在機箱上做加厚鋼板和增加其整體性,以減少共振等的成人抖音在线看。

但是,上述方法效果並不理想,並不能給散熱器去掉風扇。甚至目前,市場上最新型的價格昂貴的CPU“無風扇散熱器”,也因其滿負荷:工作時溫升太高,而不能單獨勝任其工作,必須有足夠的機內風扇通風才可適用;至於給機箱加裝消音層、加厚鋼板等方法,在降音效果上顯得微乎其微。總之,無論是“水冷頭”散熱器,還是“無風扇”散熱器,其固定連接方式給檢查、維修、更換和清掃內部機件帶來不便,且結構複雜、材料及工藝繁多、加工成本高、影響周邊散熱,因而沒有取得讓人滿意的結果。而“水冷頭”式散熱器還因其液體外漏,得不到廣泛應用。
本文的目的是克服上述已有技術的不足,而提供一種分體式無風扇電腦散熱裝置,主要解決了現有的電腦噪音及其結構複雜等問題。
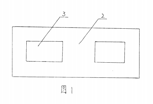
為了達到上述目的,本文是這樣實現的:分體式無風扇電腦散熱裝置,其特殊之處在於它包括散熱體2,在散熱體2上設電腦散熱元件安裝固定位3,可安裝在機內,也可在機外。
本文的分體式無風扇電腦散熱裝置,其所述的散熱體2上設機箱殼體1,機箱殼體1可為左殼,也可為右殼,還可左殼、右殼同時使用,從而與機箱組成-一個完美的整體。
本文的分體式無風扇電腦散熱裝置,在機箱殼體1與散熱體2之間設盤管5,盤管5通過油泵接口8與油泵連接,在盤管 5的頂部的機箱殼體1.上設儲液箱6,在機箱殼體1的底部設防漏引流槽7,在機箱殼體1上設通風窗9,機箱殼體1可為左殼,也可為右殼,還可左殼、右殼通過盤管5串聯使用,從而與機箱組成一個完整的整體。
本文的分體式無風扇電腦散熱裝置,其所述的盤管5最好為S形:盤管5可設在盤管板4上。
本文的分體式無風扇電腦散熱裝置,其所述的散熱體2外設散熱片13,一般用於機箱內。
本文的分體式無風扇電腦散熱裝置,其所述的散熱體2內設隔板10,在散熱體2頂部設頂蓋11,頂蓋11上設注液口或封頭12;其所述的隔板10上設扇式油泵14。
本發明的分體式無風扇電腦散熱裝置,其所述的電腦散熱元件安裝固定位3可為一個或多個;所述的散熱體2可為帶安裝平麵的任意體。
本文所述的分體式無風扇電腦散熱裝置與已有技術相比具有突出的實質性特點和顯著進步:
1、由於采用分體式,使現主板上的其它元件,不再受CPU等熱源影響,將產熱元件集中,從而使散熱更趨合理;
2、體積小,結構簡單,易於加工,成本低;
3、可懸掛於機箱內的任意空曠處,使箱內布局合理,甚至可固定於箱外,以更利於散熱;
4、減少了箱內共振,係統工作更趨穩定;
5、無液體外漏的擔憂。